审批中心
审批中心是普通用户最常用的模块。您可以在这里发起申请、处理待办任务、查看审批进度等 。
点击访问系统:审批中心
1. 发起流程
审批中心的发起流程功能:在这里,您可以查看所有可以发起的流程,并开始一个新的申请。
菜单路径:审批中心 -> 发起流程
快速链接:点击跳转

操作步骤:
- 选择流程:在列表中找到您需要办理的业务(如"请假申请")。
- 点击进 入:点击流程卡片,进入表单填写页面。
- 填写表单:按照要求填写内容。
- 提交:点击提交按钮,流程正式开始。
2. 待办任务
这里显示了所有需要您审批的任务。当有新任务时,请及时处理。
菜单路径:审批中心 -> 待办任务
快速链接:点击跳转
2.1 任务列表
审批中心的待办任务列表:在待办任务页面,您可以查看所有待处理的任务列表。

查询条件说明:
- 任务名称:输入当前任务的名称进行模糊搜索。
- 流程分类:筛选特定分类的流程(如"行政"、"人事")。
- 高级筛选:
- 所属流程:选择具体的流程定义(如"请假申请")。
- 发起时间:筛选流程发起的起止时间。
列表字段说明:
- 流程:业务流程的名称(如"请假申请")。
- 摘要:流程的关键信息摘要(如"请假类型:事假")。
- 发起人:提交该申请的用户昵称。
- 发起时间:流程最初提交的时间。
- 当前任务:您当前需要处理的步骤名称(如"部门经理审批")。
- 任务时间:该任务到达您这里的时间。
- 流程编号:流程实例的唯一标识ID。
- 任务编号:当前任务的唯一标识ID。
- 操作:
- 办理:点击进入详情页面进行审批操作。
- 流程变量:查看流程运行过程中的变量信息。
2.2 流程变量
查看待办任务的流程变量:在待办任务列表中,点击"流程变量"按钮的操作如下:

点击列表中的"流程变量"按钮,可以查看该流程中涉及的所有变量值,便于了解业务数据。
2.3 办理页面
在待办任务列表中,点击"办理"按钮后,进入任务办理详情页。
2.3.1 审批详情

- 基本信息:页面顶部显示流程编号、名称、状态、发起人头像及昵称、提交时间。
- 表单内容:显示申请人填写的详细表单数据。
- 提示:部分复杂字段旁可能有问号图标(?),点击可查看详细解释。
- 查看配置信息:针对黑名单、Launcher、任务管理等模块,点击可查看变更前后的配置对比。
- 审批时间线:右侧显示流程的审批进度和各个节点的状态。
2.3.2 流程图

直观展示流程的流转路径,绿色高亮表示已走过的路径,蓝色/橙色表示当前节点。
2.3.3 流转记录

详细记录了每一个步骤的处理人、处理结果(通过/驳回等)、审批意见和处理时间。
2.3.4 办理操作
页面底部提供了一系列操作按钮,用于处理任务:

- 通过:同意申请,流程流转到下一步。需填写审批意见。
- 拒绝:不同意申请,流程通常会结束或驳回。
- 转办:将任务转交给其他人处理(自己不再处理)。
- 委派:将任务委托给其他人处理(对方处理完后会回到自己手里)。
- 加签:在当前节点增加审批人(向前加签或向后加签)。
- 减签:减少当前节点的审批人。
- 退回:将任务退回到之前的某个节点。
- 抄送:将该任务抄送给其他人查看(不需要对方审批)。
- 取消:撤回该流程(通常仅发起人可见)。
2.4 删除/取消
在待办任务管理中,删除或取消任务的操作如下:

如果是您发起的流程,在特定状态下(如审批中),您可能看到"取消"按钮,点击并填写理由后可撤销该申请。
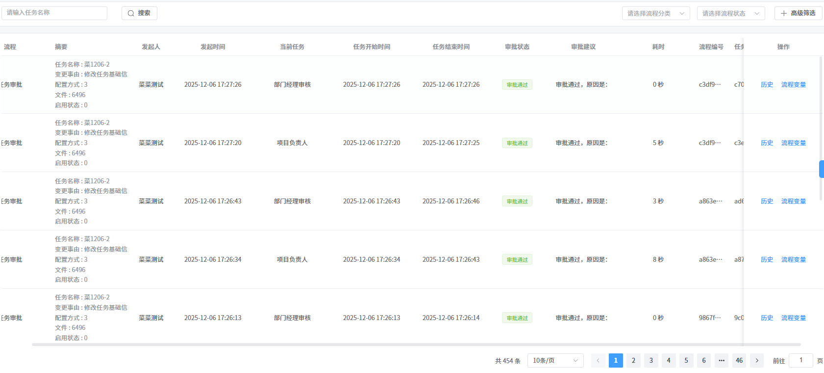
3. 已办任务
这里记录了您处理过的所有任务,方便您随时查阅历史审批记录。
菜单路径:审批中心 -> 已办任务
快速链接:点击跳转
3.1 任务列表
已办任务的列表展示:在已办任务页面,您可以查看所有已完成的任务列表。

查询条件说明:
- 任务名称:输入任务名称进行模糊搜索。
- 流程分类:筛选特定分类的流程(如"行政"、"人事")。
- 流程状态:筛选流程的整体状态(如"审批中"、"审批通过")。
- 高级筛选:
- 所属流程:选择具体的流程定义(如"请假申请")。
- 发起时间:筛选流程发起的起止时间。
列表字段说明:
- 流程:业务流程的名称(如"请假申请")。
- 摘要:流程的关键信息摘要(如"请假类型:事假")。
- 发起人:提交该申请的用户昵称。
- 发起时间:流程任务生成的时间。
- 当前任务:流程当前停留的节点名称。
- 任务开始时间:该任务节点生成的时间。
- 任务结束时间:该任务节点完成的时间。
- 审批状态:该任务的处理结果(如"审批通过"、"审批不通过")。
- 审批建议:您在处理时填写的意见。
- 耗时:您处理该任务所花费的时间。
- 流程编号:流程实例的唯一标识ID。
- 任务编号:当前任务的唯一标识ID。
- 操作:
- 历史:点击进入详情页面,查看完整的审批记录和表单内容。
- 流程变量:查看流程运行过程中的变量信息。
3.2 流程变量
在已办任务列表中,点击"流程变量"按钮的操作如下:

点击列表中的"流程变量"按钮,可以查看该流程实例中流转的所有变量数据,便于追溯业务数据变化。
3.3 详情页面
已办任务的详情页面:点击列表中的"历史"按钮,进入任务办理详情页(只读模式)。
3.3.1 审批详情

- 基本信息:显示流程编号、名称、状态、发起人及时间。
- 表单内容:显示申请人填写的详细表单数据。
- 提示:部分复杂字段旁可能有问号图标(?),点击可查看详细解释。
3.3.2 流程图

直观展示流程的流转路径,绿色高亮表示已走过的路径和当前节点。
3.3.3 流转记录

详细记录了每一个步骤的处理人、处理结果(通过/驳回等)、审批意见和处理时间。
4. 我的流程
审批中心的我的流程功能:这里显示了您发起的所有流程。您可以随时查看它们的进度。
菜单路径:审批中心 -> 我的流程
快速链接:点击跳转
4.1 流程列表
在我的流程页面,您可以查看所有由您发起的流程列表。

查询条件说明:
- 流程名称:输入流程名称进行模糊搜索。
- 流程分类:筛选特定分类的流程。
- 流程状态:筛选流程的整体状态(如"审批中"、"审批通过")。
- 高级筛选:
- 所属流程:选择具体的流程定义。
- 发起时间:筛选流程发起的起止时间。
列表字段说明:
- 流程名称:您发起的流程名称。
- 摘要:流程的关键信息摘要。
- 流程分类:所属分类。
- 流程状态:
- 审批中:流程正在流转。
- 审批通过:流程已结束且通过。
- 审批不通过:流程被拒绝。
- 已取消:流程已撤销。
- 发起时间:您发起的时间。
- 结束时间:流程结束的时间。
- 操作:
- 详情:点击进入详情页面,查看完整的审批记录和表单内容。
- 取消:撤回该流程(仅在"审批中"状态下可用)。
- 重新发起:如果流程未关联业务Key,可重新发起。
- 流程变量:查看流程运行过程中的变量信息。
业务审批状态说明(常见于业务单据列表):
- 未开始(草稿):尚未提交审批。
- 审批中:已提交,正在等待审批。
- 审批通过:流程结束,审批通过。
- 审批不通过:流程结束,审批被拒绝。
- 已取消:申请被撤回或取消。
4.2 流程变量
查看我的流程的流程变量:在我的流程列表中,点击"流程变量"按钮的操作如下:

点击列表中的"流程变量"按钮,可以查看该流程实例中流转的所有变量数据,便于追溯业务数据变化。
4.3 流程详情
点击列表中的"详情"按钮,进入流程详情页。
4.3.1 审批详情

- 基本信息:显示流程编号、名称、状态、发起人及时间。
- 表单内容:显示您填写的详细表单数据。
- 提示:部分复杂字段旁可能有问号图标(?),点击可查看详细解释。
- 查看配置信息:针对黑名单、Launcher、任务管理等模块,点击可查看变更前后的配置对比。
- 审批时间线:右侧显示流程的审批进度和各个节点的状态。
4.3.2 流程图

直观展示流程的流转路径,绿色高亮表示已走过的路径和当前节点。
4.3.3 流转记录

详细记录了每一个步骤的处理人、处理结果(通过/驳回等)、审批意见和处理时间。
4.4 取消流程
在我的流程中,取消流程的操作如下:

当流程处于"审批中"状态时,您可以点击列表中的"取消"按钮,填写理由后撤销该申请。
5. 抄送我的
审批中心的抄送我的功能:这里显示了所有抄送给您的流程。您不需要进行审批,仅作为知会查看。
菜单路径:审批中心 -> 抄送我的
快速链接:点击跳转
5.1 抄送列表
抄送我的列表展示:在抄送我的页面,您可以查看所有抄 送给您的任务列表。

查询条件说明:
- 流程名称:输入流程名称进行模糊搜索。
- 抄送时间:筛选抄送给您的起止时间。
列表字段说明:
- 流程名:业务流程的名称。
- 摘要:流程的关键信息摘要(如"请假类型:事假")。
- 流程发起人:提交该申请的用户昵称。
- 流程发起时间:流程最初提交的时间。
- 抄送节点:触发抄送的任务节点名称。
- 抄送人:执行抄送操作的用户(如果是自动抄送可能显示为系统)。
- 抄送意见:抄送时填写的附言或说明。
- 抄送时间:抄送给您的时间。
- 操作:
- 详情:点击进入详情页面,查看完整的审批记录和表单内容。
- 流程变量:查看流程运行过程中的变量信息。
5.2 流程变量
在抄送我的列表中,点击"流程变量"按钮的操作如下:

点击列表中的"流程变量"按钮,可以查看该流程实例中流转的所有变量数据,便于追溯业务数据变化。
5.3 详情页面
抄送我的详情页面:点击列表中的"详情"按钮,进入流程详情页(只读模式)。
5.3.1 审批详情

- 基本信息:显示流程编号、名称、状态、发起人及时间。
- 表单内容:显示申请人填写的详细表单数据。
- 提示:部分复杂字段旁可能有问号图标(?),点击可查看详细解释。
- 查看配置信息:针对黑名单、Launcher、任务管理等模块,点击可查看变更前后的配置对比。
- 审批时间线:右侧显示流程的审批进度和各个节点的状态。
5.3.2 流程图

直观展示流程的流转路径,绿色高亮表示已走过的路径。
5.3.3 流转记录

详细记录了每一个步骤的处理人、处理结果、审批意见和处理时间。
关联业务模块
审批中心关联的业务模块:
以下业务模块的操作可能产生需要您审批的任务:
| 业务模块 | 说明 | 快速入口 |
|---|---|---|
| 黑名单管理 | APP卸载配置变更审批 | 打开 |
| Launcher管理 | 广告位配置变更审批 | 打开 |
| 任务管理 | 任务推送配置变更审批 | 打开 |