设备信息管理
设备信息管理是设备管理模块的核心功能,用于维护所有设备的基础信息和状态。
快速访问
在线访问入口:打开设备信息管理
功能说明
通过此功能可以:
- 查看所有设备的详细信息
- 新增设备记录
- 修改设备信息
- 删除设备记录
- 查看设备运行状态
- 导入导出设备数据
- 批量修改设备渠道
- 批量删除设备
关联模块
操作指南
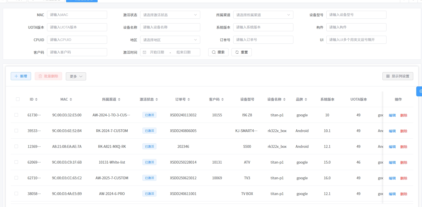
查询设备
系统提供多种条件组合查询设备信息。

搜索条件说明:
| 条件名称 | 说明 |
|---|---|
| MAC | 输入完整或部分MAC地址进行搜索 |
| 激活状态 | 筛选已激活或未激活设备 |
| 所属渠道 | 选择特定 渠道筛选设备 |
| 设备型号 | 按设备型号筛选 |
| UOTA版本 | 按UOTA固件版本筛选 |
| 设备名称 | 按设备名称筛选 |
| 系统版本 | 按操作系统版本筛选 |
| 构件 | 按构件信息筛选 |
| CPUID | 按CPUID筛选 |
| 地区 | 按地区筛选 |
| 订单号 | 按订单号筛选 |
| UI | 按UI版本筛选 |
| 客户码 | 按客户码筛选 |
| 激活时间 | 按设备激活的时间范围筛选 |
点击"搜索"按钮执行查询,点击"重置"按钮清空所有查询条件。

自定义显示字段
列表支持自定义显示字段,点击列表右上角的设置按钮可以选择要显示的字段。

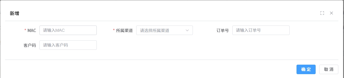
新增设备
- 点击"新增"按钮
- 填写设备基本信息:
- MAC:必填,设备的MAC地址(格式如:AA:BB:CC:DD:EE:FF)
- 所属渠道:必填,选择设备所属渠道
- 订单号:可选,填写订单号(格式如:XSDD+9位数字)
- 客户码:可选,填写客户码(5位数字)
- 点击"确定"保存

编辑设备
- 找到需要修改的设备
- 点击操作列的"编辑"按钮
- 在对话框中修改可编辑字段
- MAC:创建后不可修改
- 所属渠道:可修改
- 订单号:可修改
- 客户码:可修改
- 其他硬件信息:通常为只读,由设备上报
- 点击"确定"保存

复杂操作
点击操作列的"更多"按钮,可以进行更多操作。

正常导入设备
支持通过Excel批量导入设备数据。
- 点击"更多" -> "导入设备信息"
- 下载导入模板
- 按模板填写设备信息
- 上传Excel文件
- 系统校验并导入数据

不可重复导入
注意
如果导入的MAC地址已存在,该记录会导入失败并返回失败清单。
- 点击"更多" -> "导入不可重复的设备信息"
- 下载导入模板
- 按模板填写设备信息
- 上传Excel文件
- 系统校验并导入数据
- 系统返回导入失败的设备清单
-d43bd780a9867da1b11fc2a5ae14907c.png)
导出设备
- 设置筛选条件(可选)
- 点击"更多" -> "导出设备信息"
- 系统生成Excel文件供下载

异步导出(未实现)
当导出数据量较大时,系统会采用异步导出方式。您可以在 导出任务管理 中查看导出进度并下载文件。
按条件批量修改渠道
支持按查询条件批量修改设备所属渠道。
- 设 置筛选条件,筛选出需要修改的设备
- 点击"更多" -> "条件批量修改设备信息"
- 选择目标渠道
- 确认执行修改

按条件批量删除设备
高危操作
批量删除是高危操作,删除后数据不可恢复,请谨慎操作!
- 设置筛选条件,筛选出需要删除的设备
- 点击"更多" -> "条件删除"
- 仔细核对筛选条件
- 确认执行删除(需输入确认文本)
-83db3db6380acf34163a733b0cb019dc.png)
字段说明
列表字段
| 字段名称 | 字段说明 |
|---|---|
| ID | 设备记录ID |
| MAC | 设备的MAC地址,设备的物理地址标识 |
| 所属渠道 | 设备所属渠道名称 |
| 激活状态 | 设备是否已激活(已激活/未激活) |
| 订单号 | 关联的订单号 |
| 客户码 | 关联的客户码 |
| 设备型号 | 设备的硬件型号 |
| 设备名称 | 设备名称 |
| 品牌 | 设备品牌 |
| 系统版本 | 设备操作系统版本 |
| UOTA版本 | 设备当前的UOTA固件版本 |
| 构件 | 构件信息 |
| CPU ID | CPU唯一标识 |
| DDR/Flash | 内存和存储信息 |
| DDR | 内存大小 |
| Flash | 存储大小 |
| 生产订单 | 生产订单号 |
| CPU | 主控型号 |
| PCBA | PCBA型号 |
| IP | 设备IP地址 |
| 地区 | 设备所在地区 |
| 地区ID | 地区ID |
| UI | UI版本 |
| 创建时间 | 记录创建时间 |
| 激活时间 | 设备首次激活的时间 |
| 更新时间 | 记录最后更新时间 |
| 最后心跳时间 | 设备最后一次上报心跳的时间 |
| 入网认证码 | 入网认证码 |
| 设备型号ID | 设备型号ID |
| 备注 | 设备相关备注信息 |
| 操作 | 编辑、删除按钮 |
设备状态说明
激活状态
- 未激活:设备已录入系统但未首次连接
- 已激活:设备已成功连接并激活
常见问题
Q: 如何批量修改设备所属渠道?
A: 使用"条件批量修改设备信息"功能,先设置筛选条件选中目标设备,再选择目标渠道执行批量修改。
Q: 设备信息多久更新一次?
A: 设备每次上报心跳时会更新在线状态和最后在线时间,其他硬件信息根据设备上报实际变化实时更新。