推送信息管理
推送信息管理模块用于创建和管理向设备推送的各类apk。本模块集成了审批工作流,确保任务变更的安全性和规范性。
快速访问 (推送信息管理)
在推送信息管理模块中,您可以快速访问在线系统。
点击访问:推送信息管理
审批流程说明 (推送信息管理)
在推送信息管理模块中,审批流程是保障数据安全的关键机制。
重要
本模块结合了工作流模块,非管理员的修改操作都会触 发审批流程。管理员修改则立即生效,无需审批。 审批进度请前往 审批中心 查看。
审批状态说明 (推送信息管理)
在推送信息管理模块中,各类状态的含义如下:
- 业务审批状态:未开始(草稿)、审批中、审批通过、审批不通过、已取消。
- 流程实例状态:审批中、审批通过、审批不通过、已取消。
- 流程实例结果:待审批、审批中、审批通过、审批不通过、已取消、已退回、委派中、审批通过中。
变更状态说明 (推送信息管理)
在推送信息管理模块中,业务数据的变更状态如下:
- 未生效:数据已修改但未通过审批。
- 已生效:数据已通过审批并生效。
- 已生效且做修改标记:原有数据生效中,新的修改正在审批。
- 已生效且做移除标记:请求删除该数据,正在审批中。
- 已生效且修改状态为启用/禁用:请求改变启用状态,正在审批中。
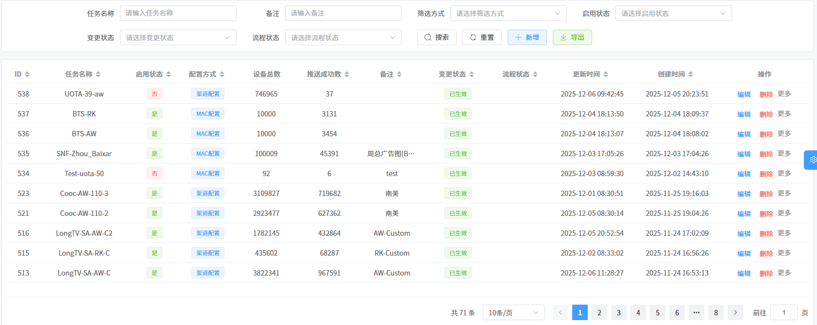
1. 任务列表 (推送信息管理)
在推送信息管理模块中,任务列表展示了所有的推送任务信息,支持查询和管理。

查询条件 (推送任务)
- 任务名称:输入任务名称进行模糊查询。
- 备注:输入备注信息进行查询。
- 筛选方式:选择筛选方式(1品牌/机型、2渠道、3MAC导入)。
- 启用状态:选择任务的启用状态。
- 变更状态:选择数据的变更状态(如已生效、未生效等)。
- 流程状态:选择审批流程的状态(如草稿、审批中等)。
列表字段说明 (推送任务)
在推送信息管理模块的任务列表中,各字段含义如下:
- ID:任务唯一标识。
- 任务名称:推送任务的名称。
- 启用状态:任务是否开启。
- 配置方式:显示任务的筛选方式(如渠道、MAC导入等)。
- 设备总数:该任务覆盖的设备总数。
- 推送成功数:成功推送的设备数量。
- 备注:任务备注信息。
- 变更状态:当前数据的审批/生效状态。
- 流程状态:关联的审批流程状态。
- 更新时间:最后修改时间。
- 创建时间:任务创建时间。
操作按钮说明 (推送任务)
在推送信息管理模块的任务列表中,支持以下操作:
- 搜索/重置:查询或重置筛选条件。
- 新增:创建新的推送任务。
- 导出:导出任务列表数据。
- 编辑:修改现有任务信息(需审批)。
- 删除:删除任务(需审批)。
- 更多:
- 草稿:查看或编辑草稿。
- 取消数据变更:取消当前的修改申请。
- 提交审批:将草稿或修改提交审批。
- 取消审批:撤回正在进行的审批。
- 查看审批:查看审批进度和详情。
2. 新增/编辑任务 (推送信息管理)
在推送信息管理模块中,您可以创建或修改推送任务的基本信息。


表单字段说明 (新增/编辑任务)
- 任务名称:必填,任务的显示名称。
- 备注:选填,任务的描述信息。
- 筛选方式:必填,决定了任务推送的范围。
- 品牌/机型:按设备品牌或机型筛选。
- 渠道:按渠道进行筛选(需在"渠道配置管理"中配置)。
- MAC导入:通过导入MAC地址指定设备(需在"MAC配置管理"中配置)。
- 启用状态:设置任务是否立即启用。
关联配置管理概述 (推送信息管理)
在推送信息管理模块中,根据业务需求,您可以选择使用 规则引擎模式(推荐) 或 传统配置模式 来定义任务的推送范围。
模 式说明
- 规则引擎模式:支持更复杂的逻辑(如“指定渠道且系统版本>10”),是新版系统的核心能力。
- 传统配置模式:仅支持单一维度的筛选(如仅按渠道或仅按MAC),主要用于兼容旧版数据。
- 逻辑共存:当任务同时配置了规则和传统条件时,系统通常会取并集或根据业务逻辑并行处理,建议新任务统一使用规则引擎。
1. 规则配置管理 (新版推荐)
这是新版任务推送的核心配置入口,集成了系统强大的规则引擎能力。

- 绑定规则:直接引用规则中心已定义好的规则(如“高端机型通用规则”)。
- 新建规则:为当前任务创建一个专用规则。
- 灵活条件:支持渠道、MAC、地区、版本号、设备型号等多种条件的组合与逻辑运算。